微信这个表情,要收费了?
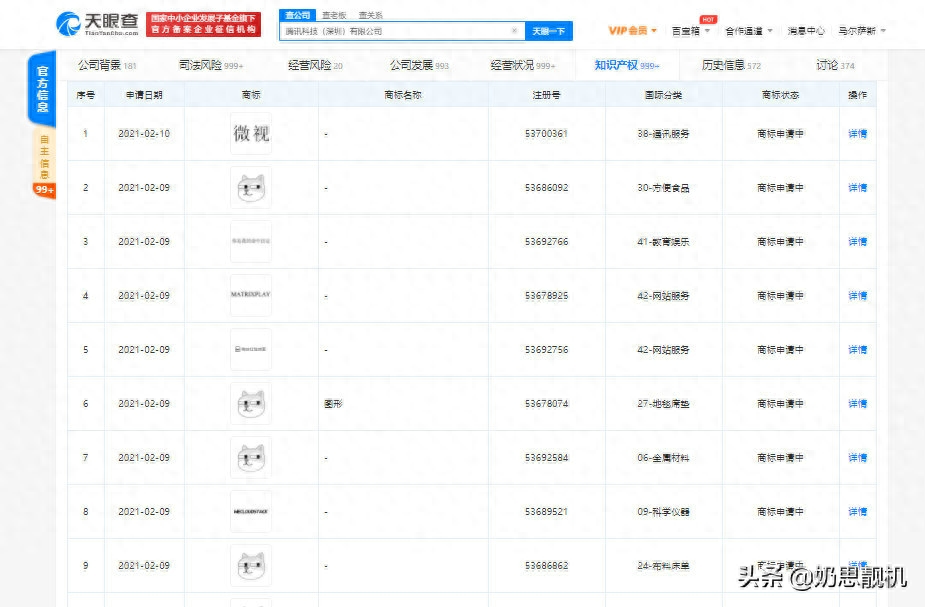
大家好我是人见人爱花见花开的奶思君。最近在天眼查里面发现腾讯申请注册了狗头商标!?
奶思掐指一算,此事并不简单!

难不成腾讯怕这个表情被别人利用了,所以抢先申请了一波“狗头保护”吗?而且接连申请了多个“狗头”表情包的图形商标,相关的领域也是很多,目前商标状态为”注册申请中。

狗头表情的前世今生
狗头”表情是去年一月份上线,一出来就爆火,也是奶思最喜欢和用的最多的表情之一。其实,它并不是微信先有的!最早是来自于一张柴犬的照片,非常滑稽,在网络走红。

这个表情的含义可以说是非常广泛了,“你懂得”“疯狂暗示”。最大的用途是评论加上狗头,防止被喷。也被大家戏称为“狗头保护”!

因为“狗头”表情并非微信原创,只是进行了魔改。现在注册商标,引发了不少网友的不满。

哈哈哈,奶思看了一下评论。真的是非常搞笑啊,还有网友表示说不定以后使用“狗头”表情需要门槛,会员才能使用


其实,奶思觉得吧,微信表情经常会被人抢注为商标。一旦有人申请成功,以后聊天使用的话,腾讯就摊上事了。所以呢,此举也是防止他人钻空子。不得不说,现在鹅真的是长大了。

大家现在能发就赶紧发。发一个就赚一个,啊哈哈,我先来。
